Wir kennen Viertakter, Zweitakter, Wankel, Benziner und Diesel. Doch hat der Verbrenner noch eine Zukunft? Zumindest im Porsche 911 soll er noch möglichst lange zum Einsatz kommen. Dafür entwickelt man in Zuffenhausen ganz besondere Ideen.
Porsche hat jetzt eine ungewöhnliche (und möglicherweise brillante) Idee für einen Sechstakt-Verbrennungsmotor vorgestellt. Wenn Sie die Grundlagen eines Verbrennungsmotors nicht kennen, werden wir versuchen, dies einfach zu halten. Wenn Sie wissen, wie Motoren funktionieren ... werden wir trotzdem versuchen, es einfach zu halten.
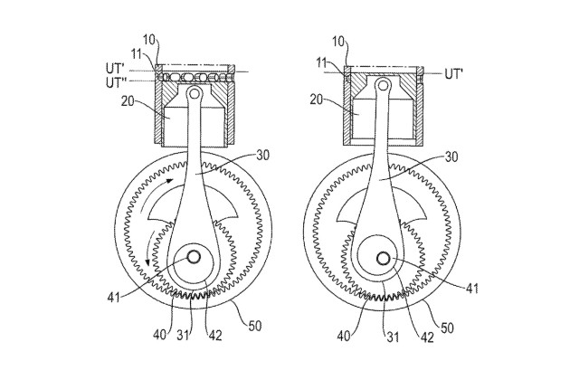
Von wenigen Ausnahmen abgesehen verfügt jedes Auto mit Verbrennungsmotor über einen Viertaktmotor: Ansaugung, Verdichtung/Zündung, Arbeiten sowie Ausstoßen. Beim Ansaugtakt gelangen Luft und Kraftstoff in den Zylinder. Beim Verdichten drückt der Kolben das Gemisch in den oberen Teil des Zylinders. Das Gemisch wird gezündet und drückt den Kolben für den Arbeitstakt wieder nach unten. Der Ausstoß ist der letzte Schritt, bei dem das verbrannte Gas aus dem Zylinder gepresst wird.

Die Porsche-Konstrukteure glauben, dass sie diesem Prozess einen weiteren Verdichtungs- und Arbeitstakt hinzufügen können. In den Dokumenten, die beim US-Patentamt eingereicht wurden, wird dies als "sechs einzelne Takte, die in zwei Drei-Takt-Sequenzen aufgeteilt werden können" beschrieben. Die zusätzlichen Schritte würden zwischen dem traditionellen Arbeits- und Ausstoßtakt erfolgen. Die erste Sequenz wäre also Einlass-Kompressions-Kraft, gefolgt von Kompressions-Kraft-Auslass.
Das Porsche-Patent zeigt dazu eine Kurbelwelle, die sich auf einem Ring mit zwei konzentrischen Kreisen - einem Ring - dreht. Dadurch ändert sich der Drehpunkt der Kurbelwelle, so dass der Hub des Kolbens (unterer Totpunkt) bei den zusätzlichen Hüben etwas abgesenkt wird. Das wiederum verändert die Verdichtung, da der Kolben nicht mehr so weit oben (oberer Totpunkt) im Zylinder sitzt. Und das bedeutet auch, dass dieser Motor zwei obere und untere Totpunkte hat.
Warum diese ganze Komplexität? Kurz gesagt, diese Konstruktion hat das Potenzial, mehr Leistung bei besserer Effizienz zu erzeugen. Bei einem herkömmlichen Motor wird nur einer von vier Takten tatsächlich zur Leistungserzeugung genutzt. Mit diesem System wird die Formel auf einen von drei Takten geändert, und außerdem wird das Gemisch gründlicher verbrannt. Der Nachteil ist natürlich die zusätzliche Komplexität. Ob die Vorteile ausreichen, um die Konstruktion zu rechtfertigen, bleibt abzuwarten.
Wie bei vielen Patenten ist es möglich, dass sie nie das Licht der Welt erblicken werden. Es ist auf jeden Fall eine interessante Idee, aber was vielleicht noch wichtiger ist: Es zeigt, dass Porsche sehr hart daran arbeitet, Wege zu finden, um Verbrennungsmotoren inmitten des Vormarschs der Elektromotoren am Leben zu erhalten.








